Temperatura
 
Poço Termométrico de Haste Paralela Rosqueado com Ponta Reduzida - Série 6600
 
Séries: 6100 | 6200 | 6300 | 6400 | 6500 | 6600 | 6700 | 6800 | 6900
 
Faça sua especificação no formulário abaixo e envie-nos o mesmo após confirma-lo. Teremos o maior prazer em atender a sua empresa.
 
1

Série
  Poço de Haste Paralela, rosqueado, com ponta reduzida.  
Faça sua
especificação
 
2
Material
do Poço
 
304 - Inox 304
310 - Inox 310
316 - Inox 316
446 - Aço Cromo 446
600 - Alloy 600
650 - Nióbio
700 - Titânio
750 - Tântalo
999 - Outros
 
Faça sua
especificação
 
3
Comprimento
inserção 'U'
  Especificar em (mm)  
Faça sua
especificação
 
4
Comprimento
Extensão 'T'
  Especificar em (mm)  
Faça sua
especificação
 
5
Diâmetro
do Furo
 

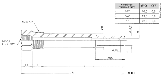
F1 - 6,6 mm (0,260")

 
Faça sua
especificação
 
6
Conexão ao
Processo

 
Diâmetro de Rosca   10N - 1" NPT
12N - 1/2" NPT
34N - 3/4" NPT
999 - Outras
 
Faça sua
especificação
 
7
Para Casos
Especiais
  Acrescentar a letra E no final da codificação, indicando as modificações e anexando o(s) desenhos(s). Preencha o campo abaixo com informções complementares.  
Faça sua
especificação
 
 
Preencha o campo abaixo caso queira acrescentar algo:

 
 

NOTAS:
1. Nova norma para cálculo de poços
Informamos que a Iope está apta a atender a nova norma ASME PTC.19.3 TW 2010 para cálculo de poços . Para maiores informações entre em contato com nossa equipe técnica de vendas ou clique aqui..

 
Clique no botão abaixo para confirmar os dados
preenchidos acima. Os dados serão confirmados no formulário horizontal a seguir:
(Antes de ENVIAR passe o mouse sobre cada número de especificação para visualizar suas características e conferir a validade das informações)
 
1 2 3 4 5 6 7
 
Seu nome :
Seu e-mail :
Seu telefone :
Assunto :

 

© Copyright IOPE - Instrumentos de Precisão Ltda. - Todos os direitos reservados
 
 

Iope - Instrumentos de Precisão

Fone (11) 3959-3959   -   e-mail: vendas@iope.com.br