Temperatura
 
Termoresistência com Bainha Preenchida - Série 31800
 
Séries: 30000 | 30800 | 30900 | 31000 | 31800 | 31900 | 36000 | 37000

 
Faça sua especificação no formulário abaixo e envie-nos o mesmo após confirma-lo. Teremos o maior prazer em atender a sua empresa.
 
1

Série
  Termoresistência com Bainha Preenchida
com bloco de ligação, especificar conforme a Série 31800.
(ítem já especificado no campo ao lado).
 
Faça sua
especificação
 
2

Características
do Sensor

 
I - PT-100 / Classe A Vidro
II - PT-100 / Classe A Cerâmica
III - PT-100 / Classe B Vidro
IV - PT-100 / Classe B Cerâmica

V - NI -100 Cerâmica
VI- TERMAX (sob consulta)
VII - Outros
Acrescentar D para
sensor duplo,
T para
sensor triplo,
ligação a 2 fios
 
Faça sua
especificação
 
3
Tipo de
Ligação
 

2 - Ligação a 2 fios
3 - Ligação a 3 fios
4 - Ligação a 4 fios

 
Faça sua
especificação
 
4
Diâmetro
da Bainha
 
30 - 3,0 mm
47 - 4,7 mm
60 - 6,0 mm
80 - 8,0 mm
99 - Outros
 
Faça sua
especificação
 
5
Material
da Bainha
 
304 - Inox 304
310 - Inox 310
316 - Inox 316
  600 - Alloy 600
999 - Outros
 
Faça sua
especificação
 
6
Bloco de
Ligação

 
B21 - Simples*
B31 - Simples*
B41 - Simples*
B42 - Duplo*
B51 - Simples
B52 - Duplo
B61 - Simples
* Para montagem de
bloco com mola de
compressão, acrescentar M.
 
Faça sua
especificação
 
7
Conexão
ao Processo
  00 - Sem Conexão)
BA - Bucim ajustável
BR - Bucim reajustável
 
Faça sua
especificação
 
8
Material
da Conexão
 
000 - Sem Conexão
303 - Inox 303
304 - Inox 304
316 - Inox 316
500 - Latão Polido
 
Faça sua
especificação
 
9
Rosca ao
Processo
 
000 - Sem rosca
12N - 1/2" NPT
14N - 1/4" NPT
18N - 1/8" NPT
34N - 3/4" NPT
38N - 3/8" NPT
 
Faça sua
especificação
 
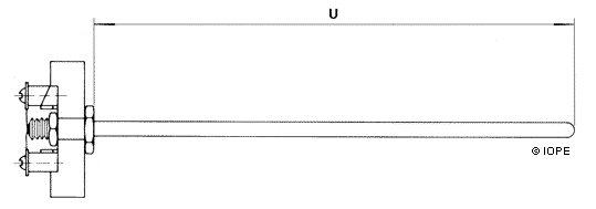
10
Comprimento
Termores. 'U'
  Especificar em (mm)  
Faça sua
especificação
 
11
Para Casos
Especiais
  Acrescentar a letra E no final da codificação, indicando as modificações e anexando o(s) desenhos(s). Preencha o campo abaixo com informações complementares.  
Faça sua
especificação
 
 
 
Preencha o campo abaixo caso queira acrescentar algo:

 
 
Clique no botão abaixo para confirmar os dados
preenchidos acima. Os dados serão confirmados no formulário horizontal a seguir:
(Antes de ENVIAR passe o mouse sobre cada número de especificação para visualizar suas características e conferir a validade das informações)
 
1 2 3 4 5 6 7 8 9 10 11
 
Seu nome :
Seu e-mail :
Seu telefone :
Assunto :

 

© Copyright IOPE - Instrumentos de Precisão Ltda. - Todos os direitos reservados
 
 

Iope - Instrumentos de Precisão

Fone (11) 3959-3959   -   e-mail: vendas@iope.com.br